The photos you provided may be used to improve Bing image processing services.
Privacy Policy
|
Terms of Use
Can't use this link. Check that your link starts with 'http://' or 'https://' to try again.
Unable to process this search. Please try a different image or keywords.
Try Visual Search
Search, identify objects and text, translate, or solve problems using an image
Drag one or more images here,
upload an image
or
open camera
Drop images here to start your search
To use Visual Search, enable the camera in this browser
All
Search
Images
Inspiration
Create
Collections
Videos
Maps
News
More
Shopping
Flights
Travel
Notebook
Top suggestions for Adaptive Drilling Algorithm
Adaptive
Learning Tools
Adaptive
Learning Technology
Adaptive
System
Adaptive
Control
Adaptive
Learning Model
Adaptive
Ai
Non-Adaptive
Trait
Adaptive
Teaching
Adaptive
Planning
Simulated Annealing
Algorithm
Adaptive
Grid
Adaptive Algorithm
Small Diagram
Adaptive
Huffman Coding
Adaptive
Equipment
Adaptive
Management
Adaptive
Filter
Computer-Adaptive
Testing
Adaptive
Sorting Algorithm
Adaptive
Control Block Diagram
Evolution
Algorithm
Adaptive
Learning Algorithms
Adaptive
Behavior Examples
Adaptive Algorithm
in Machine Learning
Adaptive
Learning Theory
Adaptive
Machine Learnig Algorithm
Challenges in
Adaptive Algorithm
Adaptive
Method
Adaptive
K Algorithm
Genetic
Algorithm
Adaptive
Antenna
2 Types of
Algorithm
Computerized Adaptive
Testing
Adaptive Algorithm
for Cloud
Computer-Adaptive
Test
Unstable
Algorithm Adaptive
Adaptive Algorithm
Dynamic Adjustment
Evolutionary
Algorithms
Genetic Algorithm
Visualization
Adaptive
Correction Algorithm
Adaptive
Digital Systems
Genetic Algorithm
Mutation
Adaptive Algorithm
in Vibration Control
Adaptive
Robots
Adaptive
Machines
Ensemble
Learning
Difference Between Adaptive and Non
Adaptive Routing Algorithm
Workday Adaptive
Planning Logo
Boosting
Algorithm
Master Adaptive
Learner
Explore more searches like Adaptive Drilling Algorithm
Block
Diagram
Machine
Learning
Small
Diagram
People interested in Adaptive Drilling Algorithm also searched for
Playground
Equipment
Kitchen
Tools
Bathroom
Equipment
Physical
Education
Writing
Utensils
Behavior
Examples
Learning
Framework
Cycle
Template
Learning
Theory
Change
Theme
Learning
Graphic
Life
Cycle
Leadership
Examples
Icon.png
Ai What
Is It
Management
Approach
Teaching
Materials
Algorithm
Examples
Learning
Skills
Ai
Logo
Control
System
Immunity
Cartoon
Kitchen
Equipment
Systems
Theory
Immune
System
Skills
Examples
Change
Model
Planning
Graphic
One
Logo
Immune
Response
Information
Processing
Leadership Theory
PowerPoint
Leadership
Framework
Project Management
Methodology
Planning
Logo
Learning
Technology
Clip
Art
Work
Environment
Reuse
Icon
Mesh
Refinement
Thinking
Definition
Process
Icon
CruiseControl
Learning
Infographic
Jet
Engine
Project
Management
Resource
Planning
Behavior
Checklist
Architecture
Plan
Natural Resource
Management
New Version
Autoplay all GIFs
Change autoplay and other image settings here
Autoplay all GIFs
Flip the switch to turn them on
Autoplay GIFs
Image size
All
Small
Medium
Large
Extra large
At least... *
Customized Width
x
Customized Height
px
Please enter a number for Width and Height
Color
All
Color only
Black & white
Type
All
Photograph
Clipart
Line drawing
Animated GIF
Transparent
Layout
All
Square
Wide
Tall
People
All
Just faces
Head & shoulders
Date
All
Past 24 hours
Past week
Past month
Past year
License
All
All Creative Commons
Public domain
Free to share and use
Free to share and use commercially
Free to modify, share, and use
Free to modify, share, and use commercially
Learn more
Clear filters
SafeSearch:
Moderate
Strict
Moderate (default)
Off
Filter
Adaptive
Learning Tools
Adaptive
Learning Technology
Adaptive
System
Adaptive
Control
Adaptive
Learning Model
Adaptive
Ai
Non-Adaptive
Trait
Adaptive
Teaching
Adaptive
Planning
Simulated Annealing
Algorithm
Adaptive
Grid
Adaptive Algorithm
Small Diagram
Adaptive
Huffman Coding
Adaptive
Equipment
Adaptive
Management
Adaptive
Filter
Computer-Adaptive
Testing
Adaptive
Sorting Algorithm
Adaptive
Control Block Diagram
Evolution
Algorithm
Adaptive
Learning Algorithms
Adaptive
Behavior Examples
Adaptive Algorithm
in Machine Learning
Adaptive
Learning Theory
Adaptive
Machine Learnig Algorithm
Challenges in
Adaptive Algorithm
Adaptive
Method
Adaptive
K Algorithm
Genetic
Algorithm
Adaptive
Antenna
2 Types of
Algorithm
Computerized Adaptive
Testing
Adaptive Algorithm
for Cloud
Computer-Adaptive
Test
Unstable
Algorithm Adaptive
Adaptive Algorithm
Dynamic Adjustment
Evolutionary
Algorithms
Genetic Algorithm
Visualization
Adaptive
Correction Algorithm
Adaptive
Digital Systems
Genetic Algorithm
Mutation
Adaptive Algorithm
in Vibration Control
Adaptive
Robots
Adaptive
Machines
Ensemble
Learning
Difference Between Adaptive and Non
Adaptive Routing Algorithm
Workday Adaptive
Planning Logo
Boosting
Algorithm
Master Adaptive
Learner
New Version
🎉
What's new
You're invited to try a new version of Image Search, switch to view.
768×1024
scribd.com
Automated Drilling Algorithms Imple…
768×994
studylib.net
Adaptive Drilling System
640×640
ResearchGate
Adaptive algorithm flowchart | Download Sci…
1200×630
jpt.spe.org
Adaptive Drilling Application Uses AI To Enhance On-Bottom Drilling ...
Related Products
Adaptive Learning Algorithms
Machine Learning
Control Systems
360×326
jpt.spe.org
Adaptive Drilling Application Uses AI T…
850×1203
researchgate.net
(PDF) Adaptive Control and E…
850×1134
researchgate.net
(PDF) Applying a New Adapti…
300×96
Drilling Contractor
Adaptive automation facilitates efficient, safe tripping operatio…
148×148
researchgate.net
Application of the genetic al…
600×148
researchgate.net
Application of the genetic algorithm to optimize drilling parameters ...
458×458
researchgate.net
Adaptive hydraulic drive for the smal…
850×397
researchgate.net
Representation of the three-dimensional laser drilling algorithm on a ...
320×320
researchgate.net
Representation of the three-dimensi…
850×704
researchgate.net
General scheme of adaptive control of th…
2294×591
ows-apac.com
AI Drilling Optimization Software - OWS - Oilfield Specialist - OWS ...
Explore more searches like
Adaptive
Drilling
Algorithm
Block Diagram
Machine Learning
Small Diagram
582×460
semanticscholar.org
Figure 1 from Bat Algorithm Optimizer for Drilling Trajec…
850×1129
researchgate.net
Material recognition me…
850×1202
ResearchGate
(PDF) Robust and adaptive c…
1646×1039
drillingcontractor.org
Automation initiatives show untapped potential in drilling optimization ...
1600×894
jpt.spe.org
Machine-Learning Algorithms Optimize Drilling-Center Locations Offshore
640×640
researchgate.net
The automatic drilling procedure. | Download …
780×470
drillingcontractor.org
AI and emerging gen AI technologies set to unlock new frontiers in ...
626×417
freepik.com
Integrating advanced directional drilling ar generative ai | Premium AI ...
655×391
researchgate.net
Important applications of AI in drilling optimization | Download ...
626×417
freepik.com
Premium Photo | Developing drilling optimization techniques ar ...
626×417
freepik.com
Exploring new drilling techniques ar generative ai | Premium AI ...
580×428
semanticscholar.org
Figure 1 from Automated Drill Modeling for Drilling Process Simulation ...
850×1100
researchgate.net
(PDF) Advisory System for Drilling …
1280×720
YouTube
Adaptive Manufacturing Drilling - YouTube
1:12
YouTube > Johannes Lübbering GmbH
L.ADU - Adaptive Drilling | english version
YouTube · Johannes Lübbering GmbH · 640 views · Oct 6, 2016
2313×1280
aidriller.com
AI Driller
People interested in
Adaptive
Drilling Algorithm
also searched for
Playground Equipment
Kitchen Tools
Bathroom Equipment
Physical Education
Writing Utensils
Behavior Examples
Learning Framework
Cycle Template
Learning Theory
Change Theme
Learning Graphic
Life Cycle
762×1000
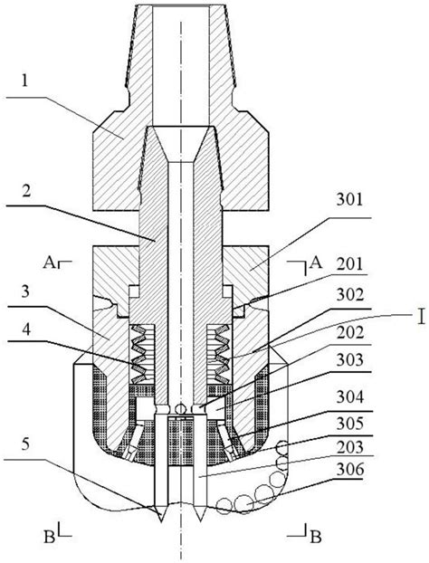
eureka.patsnap.com
Intelligent adaptive acceleration drill …
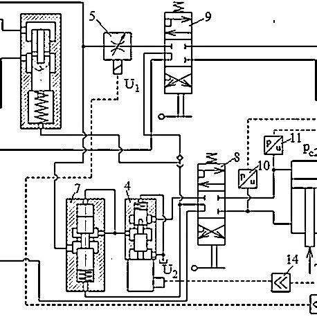
1240×537
eureka.patsnap.com
Shape and position self-adaptive automatic drilling and riveting system ...
538×423
intechopen.com
Application of Artificial Intelligence in Drilling and Completion ...
588×381
intechopen.com
Application of Artificial Intelligence in Drilling and Completion ...
Some results have been hidden because they may be inaccessible to you.
Show inaccessible results
See more images
Recommended for you
Sponsored
Report an inappropriate content
Please select one of the options below.
Not Relevant
Offensive
Adult
Child Sexual Abuse
Feedback