The photos you provided may be used to improve Bing image processing services.
Privacy Policy
|
Terms of Use
Can't use this link. Check that your link starts with 'http://' or 'https://' to try again.
Unable to process this search. Please try a different image or keywords.
Try Visual Search
Search, identify objects and text, translate, or solve problems using an image
Drag one or more images here,
upload an image
or
open camera
Drop images here to start your search
To use Visual Search, enable the camera in this browser
All
Search
Images
Inspiration
Create
Collections
Videos
Maps
News
More
Shopping
Flights
Travel
Notebook
Top suggestions for Paper Coating Example
Powder
Coating Examples
Coating
Types
Best Flat Roof
Coating
Dip
Coating
Conversion
Coating
Spin
Coating Examples
Polymeric
Coating Examples
Powder Coating
Product Examples
Coating
Defects
Automotive
Coating
Powder Coating
Overspray Examples
Coating
Process
Hydrophobic
Coating
Before and After
Coating Examples
Composite
Coating Example
Graphene
Coating
Paper Coating
Process
Amphenol
Coating Examples
Conformal
Coating
Silicone Conformal
Coating
Powder Coating
Adhesion Examples
Coating
Chemistry
Spin Coating
Technique
Glass Ceramic
Coating
Examples
of Conventional Coating
Good Example
of Coating
Examples of Powder Coating
and Plated Coat
Nomar
Coating Example
After Powder
Coating Marking Examples
Tablet Coating
Process
Metal Powder
Coating Examples
Coating
Calculator Examples
Film Coating
Process
Organic
Coating
Samples of Compound
Coating
Polyurea Concrete
Coating
Powder Coating
Rough Coating Examples
What Is Powder
Coating Examples
AR Coating
Lens
Urethanizer
Lanco
Organic
Coatings Examples
Example of Coating
Metals
Improper Powders
Coating Curing Examples
Industrial
Coatings
Examples
of Cerakote Over Powder Coating
Coating
Inclusions
Pyrolytic
Coating Example
Architectural
Coatings
UV
Coating
Types of Coaings
List
Explore more searches like Paper Coating Example
Vinyl
Acetate
Food
Packaging
Cross
Section
FlowChart
Heat
Transfer
Hard
Plastic
System
Icon
Dryer
Unit
What Is
Thermal
Resin
Spray
For
Plywood
Wood
Pigment
Imagine
Polymer
Slide
Players
Blade
Inkjet
Silicon
PLA
PNG
Machine
Project
Casein
People interested in Paper Coating Example also searched for
Hold
Out
Natural
Contoh
Produk
Kraft
Extrusion
Sheet
Foam
Nanocellulose
Plastic
Oil
Sublimation
Aqueous
Protein
For
Steps
Autoplay all GIFs
Change autoplay and other image settings here
Autoplay all GIFs
Flip the switch to turn them on
Autoplay GIFs
Image size
All
Small
Medium
Large
Extra large
At least... *
Customized Width
x
Customized Height
px
Please enter a number for Width and Height
Color
All
Color only
Black & white
Type
All
Photograph
Clipart
Line drawing
Animated GIF
Transparent
Layout
All
Square
Wide
Tall
People
All
Just faces
Head & shoulders
Date
All
Past 24 hours
Past week
Past month
Past year
License
All
All Creative Commons
Public domain
Free to share and use
Free to share and use commercially
Free to modify, share, and use
Free to modify, share, and use commercially
Learn more
Clear filters
SafeSearch:
Moderate
Strict
Moderate (default)
Off
Filter
Powder
Coating Examples
Coating
Types
Best Flat Roof
Coating
Dip
Coating
Conversion
Coating
Spin
Coating Examples
Polymeric
Coating Examples
Powder Coating
Product Examples
Coating
Defects
Automotive
Coating
Powder Coating
Overspray Examples
Coating
Process
Hydrophobic
Coating
Before and After
Coating Examples
Composite
Coating Example
Graphene
Coating
Paper Coating
Process
Amphenol
Coating Examples
Conformal
Coating
Silicone Conformal
Coating
Powder Coating
Adhesion Examples
Coating
Chemistry
Spin Coating
Technique
Glass Ceramic
Coating
Examples
of Conventional Coating
Good Example
of Coating
Examples of Powder Coating
and Plated Coat
Nomar
Coating Example
After Powder
Coating Marking Examples
Tablet Coating
Process
Metal Powder
Coating Examples
Coating
Calculator Examples
Film Coating
Process
Organic
Coating
Samples of Compound
Coating
Polyurea Concrete
Coating
Powder Coating
Rough Coating Examples
What Is Powder
Coating Examples
AR Coating
Lens
Urethanizer
Lanco
Organic
Coatings Examples
Example of Coating
Metals
Improper Powders
Coating Curing Examples
Industrial
Coatings
Examples
of Cerakote Over Powder Coating
Coating
Inclusions
Pyrolytic
Coating Example
Architectural
Coatings
UV
Coating
Types of Coaings
List
510×310
dic.co.id
Paper Coating - DIC Graphics
458×258
mcpolymers.com
Polymers for Paper Coating | Mallard Creek Polymers
480×320
pulpequipment.com
Coating Paper Making Process, Coating Paper Machine, Paper …
1024×512
yescompaper.com
Choosing the Best Paper Coating for Your Printing Projects
Related Products
Glossy Paper Coating
Matte Paper Coating
UV Paper Coating
600×311
ibexpackaging.com
What is Paper Coating? - Ibex Packaging
768×398
ibexpackaging.com
What is Paper Coating? - Ibex Packaging
768×512
ibexpackaging.com
What is Paper Coating? - Ibex Packaging
1200×600
ibexpackaging.com
What is Paper Coating? - Ibex Packaging
867×449
ibexpackaging.com
What is Paper Coating? - Ibex Packaging
708×273
jennypapermachine.com
How to make paper different? Coating - Younge Group: Paper industry ...
Explore more searches like
Paper Coating
Example
Vinyl Acetate
Food Packaging
Cross Section
FlowChart
Heat Transfer
Hard Plastic
System Icon
Dryer Unit
What Is Thermal
Resin
Spray
For Plywood
687×582
jennypapermachine.com
How to make paper different? Coating - You…
1027×583
jennypapermachine.com
How to make paper different? Coating - Younge Group: Paper industry ...
1140×500
jennypapermachine.com
How to make paper different? Coating - Younge Group: Paper industry ...
850×145
researchgate.net
Paper Coating Process Summary | Download Scientific Diagram
207×207
researchgate.net
Paper Coating Process Summar…
839×667
abo.fi
Paper Coating and Converting | Åbo Akademi
640×360
vectorsolutions.com
Paper Coating Operations | Vector Solutions
460×344
cnsunrisepaper.com
PE Coated Paper: Benefits, Types, Applications & Sustaina…
600×678
variflexpack.com
Coated Paper & Paperboard Sheet…
1000×1500
artofit.org
How coating helps paper – …
1280×720
schlenk.com
Paper coating
600×421
pharmaceutical-tech.com
Fabric & Paper Coating
1984×1116
elementis.com
Paper coatings | Elementis Global
2000×1250
presortinc.com
Choosing the Right Paper Coating | Presort
500×500
IndiaMART
Paper Coating at ₹ 100/kilogram | Nashik | ID…
400×400
pulpandpaper-technology.com
The role of coatings in paper quality improvement | Pap…
850×485
researchgate.net
Different methods for coating on the paper substrate: a bar coating. b ...
People interested in
Paper Coating
Example
also searched for
Hold Out
Natural
Contoh Produk
Kraft
Extrusion
Sheet
Foam
Nanocellulose
Plastic
Oil
Sublimation
Aqueous
720×931
slideserve.com
PPT - What Is Coating Paper? Po…
800×798
sciencephoto.com
Coating of paper for various applications - Stock Image …
1000×750
artemyn.com
Coatings for Paper and Board - Artemyn
695×530
linkedin.com
4 Important Paper Coating Types for Paper Bowls and Paper Cups
375×500
indiamart.com
Coating paper for digital door print, F…
850×207
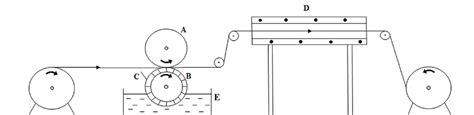
researchgate.net
2: Schematic representation of the paper coating process. A: Back-up ...
887×900
pixels.com
Coating Of Paper For Various Applications #1 P…
750×816
ygpapermachinery.com
Coated Paper Machine | Paper Coating Machine | PE Coating
Some results have been hidden because they may be inaccessible to you.
Show inaccessible results
Report an inappropriate content
Please select one of the options below.
Not Relevant
Offensive
Adult
Child Sexual Abuse
Feedback